详细绘图 > 定义绘图布局 > 使用模型视图 > 自定义绘图视图 > 显示视图的截面 > 修改横截面 > 在绘图的俯视图和侧视图中显示螺纹
  
在绘图的俯视图和侧视图中显示螺纹
若要按 ANSI、ISO 或 JIS 标准在绘图中显示螺纹,可将详细信息选项 thread_standardhlr_for_threads 结合使用。
要按 ANSI 标准显示螺纹,请将详细信息选项 thread_standard 设置为 std_ansistd_ansi_impstd_ansi_imp_assy
要按 ISO 6410 标准显示螺纹,请将详细信息选项 thread_standard 设置为 std_isostd_iso_impstd_iso_imp_assy
要按 JIS 标准显示螺纹,请将详细信息选项 thread_standard 设置为 std_jis
对于组装螺纹,其显示如下:
thread_standard
显示
std_ansi_imp_assy
std_iso_imp_assy
std_jis
对于可见螺纹,其显示如下:
thread_standard
显示
std_ansi_imp_assy
std_iso_imp_assy
std_jis
未完成的螺纹会始终显示。在从螺纹的一端观看的视图中,螺纹小径用一个不完整的圆 (大约等于完整圆的 ¾) 表示。开口象限在右上角或左下角。
对于隐藏螺纹,其显示如下:
thread_standard
显示
std_ansi_imp_assy
std_iso_imp_assy
std_jis
未完成的螺纹会始终显示。在从螺纹的一端观看的视图中,螺纹大径用一个不完整的圆 (大约等于完整圆的 ¾) 表示。
 
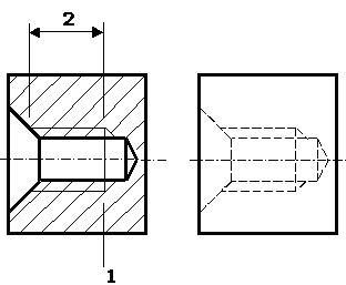
当插入修饰螺纹时,如果选择“至曲面”(UpTo Surface) 作为修饰螺纹的深度,则在详细信息选项 hlr_for_threads 设置为 yes 时,绘图中螺纹的有用长度极限 (用修饰螺纹面组与参考曲面之间的交集表示) 将不可见。
hlr_for_threads = no
1. 开始
2. 修饰螺纹面组
3. 修饰螺纹面组和参考曲面的相交
4. 参考曲面
5. 深度 (Depth)
hlr_for_threads = yes
1. 开始
2. 深度 (Depth)
 
* 如果更改了详细信息选项 hlr_for_threads 的设置,则只有在通过单击“审阅”(Review) > “更新页面”(Update Sheets) 更新绘图后,绘图才会反映出所做的更改。
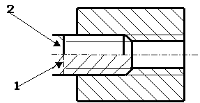
在插入修饰螺纹时,如果选择任何其它用于定义“深度”的选项,则在绘图中,有用长度极限总是根据其是可见还是隐藏,用粗实线或细虚线来显示。
1. 隐藏的有用长度极限
2. 可见的有用长度极限
在 ISO 标准显示中,如果螺栓直径等于孔螺纹直径,且螺栓螺纹直径等于孔直径,则在下列任一条件存在时,该螺栓将覆盖孔的剖面线:
螺栓和孔同轴。
两轴都在横截面中。
横截面本身是平面的,并与屏幕平行(垂直于视图方向)。
在偏移横截面的情况下,横截面与螺栓或孔对相交的部分必须是平面的,且平行于屏幕。