Expert Machinist > Hole Group Features > Example: Automatic Chamfer Machining
  
Example: Automatic Chamfer Machining
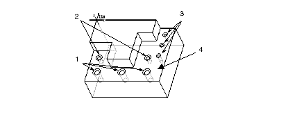
Create a Hole Group feature that includes all the holes shown in the following illustration:
1. CHAMFER 45 x .2 (3 holes)
2. CHAMFER 30 x .2 (2 holes)
3. CHAMFER 30 x .16 (3 holes)
The fastest way to define this Hole Group is to select surface (4).
For the first Tool Path feature, use a tool with Point Angle 90. It will machine the 45-degree chamfers, as shown in the following illustration.
For the second Tool Path feature, use a tool with Point Angle 120. It will machine the 30-degree chamfers, as shown in the next illustration.