制造 > 车削 > 示例:4 轴区域车削
  
示例:4 轴区域车削
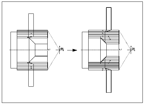
在下图中,左边的图显示进程中的“4 轴区域”车削刀具路径显示。右侧显示的是完成的刀具路径。