制造 > 孔加工 > 示例:自动倒角选择
  
示例:自动倒角选择
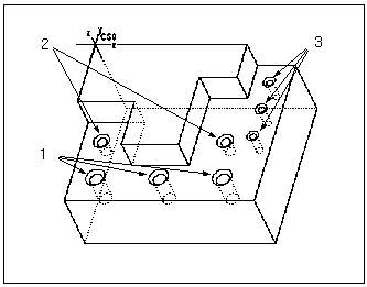
本例中制造模型的倒角孔如下:
1. CHAMFER 45 x .2(3 孔)
2. CHAMFER 30 x .2(2 孔)
3. CHAMFER 30 x .16(3 孔)
对于第一个“沉头孔”NC 序列,使用“顶角”为 90 度的刀具。它可以加工 45 度的倒角,如下图所示。
对于第二个“沉头孔”NC 序列,使用“顶角”为 120 度的刀具。它可以加工 30 度的倒角,如下图所示。