制造 > 铣削 > 体积块、局部、轮廓铣削的自动切削运动 > 示例:定义进刀和退刀运动
  
示例:定义进刀和退刀运动
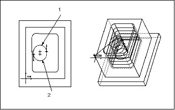
下图显示如何使用“轴”(Axis) 选项定义进刀和退刀。
1. 此轴是为进刀和退刀点而选定的
下图显示如何为“构建切削”(Build Cut) 草绘进刀和退刀。
1. 进刀草绘
2. 退刀草绘