制造 > 铣削几何 > 铣削曲面 > 示例:聚合铣削曲面
  
示例:聚合铣削曲面
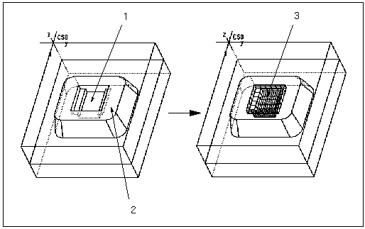
下图显示使用“曲面和边界”(Surf & Bnd) 聚合“铣削曲面”的一个示例。
选择种子曲面 (1) 和边界曲面 (2)。系统生成结果“铣削曲面”(3)。
 
* 曲面被画上网格以获得更好的可见性。不会看到象这样的“铣削曲面”:将其表示为以黄色显示“开放”边、以洋红色显示轮廓和相交线。