制造 > 铣削 > 腔槽铣削 > 示例:腔槽铣削
  
示例:腔槽铣削
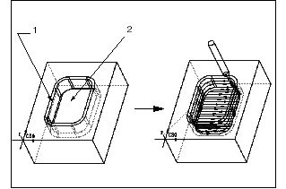
1. “体积块”铣削后剩余的材料
2. 选择腔槽中的所有曲面(使用“铣削体积块”)