制造 > 车削 > 示例:轮廓车削
  
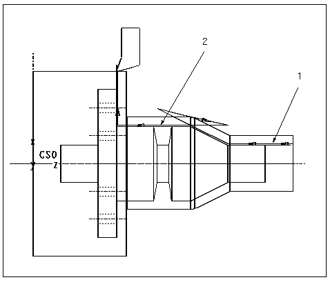
示例:轮廓车削
下图显示使用“偏移切削”(Offset Cut) 复选框进行的外表面“轮廓”车削。创建两个“自动切削”运动(1 和 2)。