制造 > 线切割 > 示例:粗加工、精加工和分离切削运动
  
示例:粗加工、精加工和分离切削运动
下面两个图显示的示例为:在同一 NC 序列内创建多个“粗加工”切削运动,然后参考先前创建的切削运动,以单独 NC 序列切除零件。
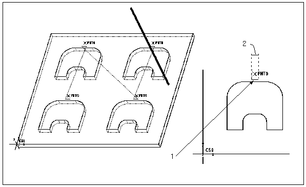
下图显示带“进刀”移动的多个“粗加工”切削运动,参数设置如下:
CUT_MOTION_CONNECT CUT_WIRE
APPROACH_MOVE YES
1. 螺纹点
2. 进刀移动
3. 粗加工切削运动
4. REVERSE_DIST
5. ATTACH_WIDTH
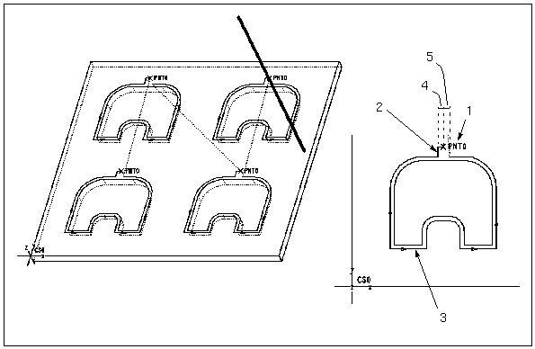
下图显示的分离运动利用“使用先前的”(Use Prev) 选项创建,并参考上图所示的 NC 序列。APPROACH_MOVE 参数设置为 NO。
1. 分离切削运动
2. ATTACH_WIDTH + REVERSE_DIST