制造 > CL 数据 > 示例:平移 CL 数据
  
示例:平移 CL 数据
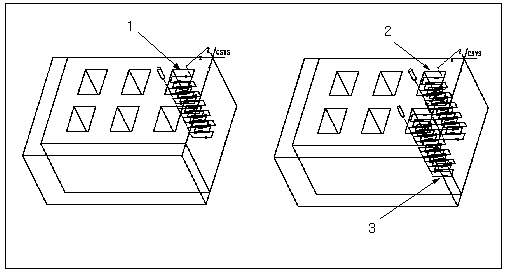
1. 创建铣削 NC 序列
2. 未平移的铣削 NC 序列 CL 数据
3. 沿 Y 轴按阵列尺寸增量值平移的 CL 数据