制造 > 铣削几何 > 铣削体积块 > 示例:修剪铣削体积块
  
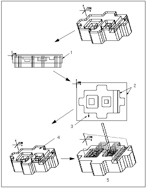
示例:修剪铣削体积块
1. 草绘拉伸的体积块 (1)。确保它比要铣削的腔槽深些。
2. 通过草绘截面 (2) 移除工件外的多余体积块。箭头 (3) 指示要移除的区域。如果将 TRIM_TO_WORKPIECE 设置为 YES,则可忽略此步骤。
3. 单击“铣削体积块”(Mill Volume) > “修剪”(Trim)。从要铣削的体积块中切除参考零件,剩下“铣削体积块”(4)。将以单个 NC 序列加工顶面和所有三个腔槽,如上图 (5) 所示。