制造 > 刀具 > 实体刀具模型 > 示例:在车削中使用刀具轮廓
  
示例:在车削中使用刀具轮廓
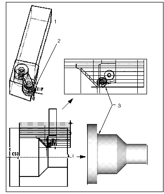
1. 刀具装配
2. 为该零件设置 solid_tool_cutting yes
3. 系统使用刀具几何生成刀具路径和移除材料。