制造 > 铣削几何 > 铣削体积块 > 示例:填充内环
  
示例:填充内环
下图显示的是使用“曲面和边界”(Surf & Bnd) 进行聚合时填充环的情况:
1. 选择种子曲面。
2. 选择四个侧曲面作为边界。
3. 选择孔的曲面 (两半部分) 作为边界曲面。
4. 填充此环(选择孔的边)。
5. 孔将不会被铣削。
6. 铣削体积块
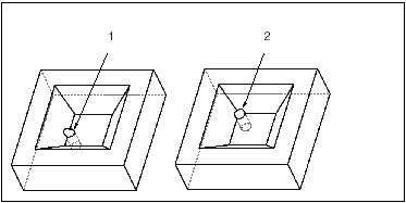
下图显示的是使用“曲面”进行聚合时填充环的情况。如果使用“曲面”(Surfaces) 选项选择曲面 (1),则内环的边也将被向上延伸,体积块 (2) 不包括在“铣削体积块”(3) 中且不会被铣削。如果填充环 (4),则构建“铣削体积块”(5) 时不考虑内环,并将铣削整个体积块。
 
* 如果某环属于两个以上的相邻曲面,则不能填充此环 (见下图)。
1. 此环可被填充。
2. 此环不能被填充(在创建体积块之前隐含特征)。