制造 > 铣削几何 > 铣削体积块 > 偏移铣削体积块
  
偏移铣削体积块
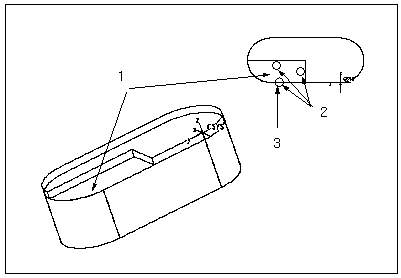
可通过偏移来延伸聚合或草绘的体积块。由于刀具总是在定义的体积块内,因此可使用此选项进行诸如整理工件边界边这样的操作。
 
* 这种情况下,确保将参数 TRIM_TO_WORKPIECE 设置为 NO。
1. 加工的体积块
2. 刀具
3. 如果将体积块偏移、偏移距离为刀具半径,就会整理边界边。