草绘车削轮廓
草绘“车削轮廓”时,切记该草绘必须在“NC 序列”坐标系的 XZ 平面中且完全在 x 轴的一侧(正或负)。
进入“草绘器”模型的默认方向如下:
• 如果机床定义为水平 (Horizontal) - z 轴指向右且 x 轴指向上。
• 如果机床定义为竖直 (Vertical) - z 轴指向上且 x 轴指向右。
当然,可在模型的任何视图方向上进行草绘,只要 XZ 平面平行于屏幕,且草绘完全在“NC 序列”x 轴的一侧。
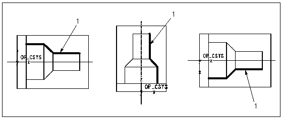
下图显示了以各种视图方向草绘的切削。
1. 草绘截面
要通过草绘定义车削轮廓,请单击“车削轮廓”操控板上的

:
• 对于“螺纹”车削,草绘主刀具运动,对于外螺纹为外径,对于内螺纹为内径。
草绘必须在图元的连续链上,并且图元不可形成封闭环。
1. 工件边界
2. 草绘截面