三轴和五轴孔加工
“3 轴孔加工”存在于“车床”(Lathe)、“铣削”(Mill) 或“铣削/车削”(Mill/Turn) 中心中。创建“3 轴孔加工”NC 序列时,所有孔必须定向为互相平行并垂直于退刀平面。
“5 轴孔加工”允许所钻孔的轴线不垂直于退刀曲面。“5 轴孔加工”仅在使用“5 轴铣削”或“铣削/车削”工作中心时可用。
使用

、

、

或
“钻孔”(Drilling) 选项卡中的

选项可指定哪个刀头将执行孔加工 NC 序列。以下情况下,这些选项可用:
• 对于 4 轴和 5 轴车削,选择了全部刀头选项时。
• 对于铣削,选择了两个刀头铣削的选项时。
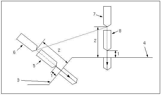
对于 5 轴孔加工,如果使用退刀平面,刀具将如下图所示进行移动:刀具快速移动到由 CLEARANCE_OFFSET 参数定义的点,该点在孔轴线与起始曲面交点上方,刀具方向平行于孔轴线,快速移动至孔上方的 CLEAR_DIST,在 CUT_FEED 进行钻孔,然后退刀返回到 CLEARANCE_OFFSET 并移动到下一个孔。
1. CLEAR_DIST
2. CLEARANCE_OFFSET
3. 第一个孔的起始曲面
4. 第二个孔的起始曲面
5. 第一个孔的钻孔循环完成
6. 钻孔后刀具退出
7. 刀具为钻第二个孔进行定位
8. 刀具开始钻孔
如果为“5 轴孔加工”定义了退刀曲面,则刀具钻孔后退到此曲面,沿此曲面且与其垂直移动到下一孔上方的确定点,刀具方向平行于孔轴线,快速移动到 CLEAR_DIST,进行钻孔,然后退出返回到退刀曲面。
| 退刀曲面必须是旋转曲面。 |