制造 > 自定义对话框 > 重新定义连接运动
  
重新定义连接运动
使用“自定义”(Customize) 对话框中的“重新定义”(Redefine) 按钮,可以重新指定迄今为止创建的任何穿行路径段。单击“重新定义”(Redefine) 后,出现“刀具运动”段的名称列表菜单。选择要重做的段。选定的段和随后的所有“刀具运动”段将临时消失。
如果这是一个草绘的段,可以重新指定草绘平面,然后草绘刀具路径(注意,旧的草绘自动删除)。
如果这是一个“连接”段,则选择一个孔轴并继续。
完成后,剩余的刀具路径被重新生成。随后的“连接”段可能根据对当前段的修改而发生更改。如果重新定义紧邻草绘段的前一段,请将被重新定义的段的终点放在下一草绘段的起点,或者重新定义草绘段。
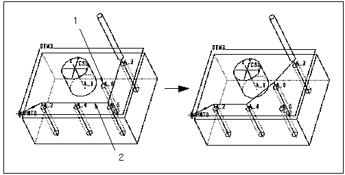
下图显示修改穿行路径的方法。
1. 选择该轴。
2. 重新定义 DRL CONN #3。