制造 > 车削 > 指定刀具方位
  
指定刀具方位
“车削”刀具的定向可由 NC 序列参数“刀具方位”控制。此参数的默认值是 90 度,在多数情况下都能适当地定位工具来加工工件的外部及表面曲面。要加工中空工件的内侧曲面,可能需要将“刀具方位”的值更改为 0。实际的刀具方位还受到转塔头编号 (“刀头 1”或“刀头 2”) 的影响,以及夹持器类型 (左或右) 的影响。可在“刀具设置”(Tool Setup) 对话框的“预览”(Preview) 窗口中预览刀具方位。
对于支持在机床上定向刀具的 5 轴铣削/车削机床,也可设置 TOOL_POSITION_ANGLE。此角度在 CL 数据中输出。
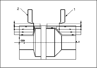
将 Holder_Type 参数设置为“右”可以相对其竖直轴镜像刀具。这允许在零件的轴肩后执行直径的后车削。
1. Holder_Type 左
2. Holder_Type 右