制造 > 铣削 > 表面铣削 > 在表面铣削中使用参数
  
在表面铣削中使用参数
可使用参数 STEP_DEPTH 和 NUMBER_CUTS 指定多个深度的切口。系统将根据 STEP_DEPTH 计算切口的数量,并与 NUMBER_CUTS 进行比较,使用其中的较大值。如果只需要一个具有整个深度的切口,可将 NUMBER_CUTS 设置为 1,将 STEP_DEPTH 设置为一个相对较大的值(大于要移除的坯件的厚度)。
下图显示了工件下部的表面加工,其中 STEP_DEPTH = 10(大于零件厚度),NUMBER_CUTS = 2。
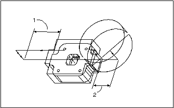
1. 跨距
2. 进刀运动
3. 超程运动
4. 退刀运动
 
* 对于“装配”加工或没有几何形状的工件,这些参数具有不同的含义:NUMBER_CUTS 确定层切面数量,STEP_DEPTH 确定两个层切面间的偏距,即第一个层切面将相对选定的面偏移 (NUMBER_CUTS-1)*STEP_DEPTH。
每一层切面的切口数量也使用类似的方法,由“跨距”和“加工路径数”的参数组合来确定。但是,如果“加工路径数”被设置为 1,“跨距”的值将被忽略,并且每一层切面仅走刀一次。当使用的刀具足够大时,这一点将很有用。
在下图示例中,ENTRY_EDGE = LEADING_EDGE,CLEARANCE_EDGE = HEEL 且加工路径数 = 1。刀具生成一个切削走刀。刀具的进刀运动 (1) 等于 APPROACH_DISTANCE + 起点超程 + 刀具半径。退刀运动 (2) 等于 EXIT_DISTANCE + END_OVERTRAVEL + 刀具半径。
“底部允许余量”参数用来指定表面铣削曲面上的允许余量。默认值破折号 (-) 会将底部允许余量设置为 0。
使用参数“起点超程”和 END_OVERTRAVEL,刀具路径可越过选定曲面边进行延伸。参数 APPROACH_DISTANCE 和 EXIT_DISTANCE 分别应用于进入层切面的“第一进刀”和退出层切面的“最后退刀”。需要时可将参数 APPROACH_FEED 和 EXIT_FEED 指定给这些运动,否则将使用 CUT_FEED。所有这些参数都相对于刀具上的某一点来测量,并由 ENTRY_EDGE 和 CLEARANCE_EDGE 的参数值来定义。
 
* 当将 TRIM_TO_WORKPIECE 参数设置为 YES 时,会针对 CLEARANCE_EDGE 和 ENTRY_EDGE 参数考虑值 CENTER。会忽略其他值。因此,会使用刀具中心来测量进刀和退刀运动。
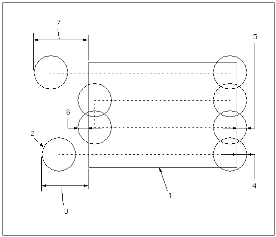
下图显示了当 ENTRY_EDGE 为 HEEL 且 CLEARANCE_EDGE 为 LEADING_EDGE 时基于参数值的进刀、退刀和超程运动。
1. 参考零件(选定面)
2. 刀具
3. APPROACH_DISTANCE + 起点超程
4. END_OVERTRAVEL
5. 起点超程
6. END_OVERTRAVEL
7. EXIT_DISTANCE + END_OVERTRAVEL
参数 CLEARANCE_EDGE 用来指定刀具离开材料时,使用刀具的哪一点来计量退刀运动和超程运动:
HEEL (默认) - 刀具的跟部。
CENTER - 刀具中心。
LEADING_EDGE - 刀具的前缘。
参数 ENTRY_EDGE 同样也用来在刀具进入材料处测量其运动。它具有和 CLEARANCE_EDGE 一样的值(LEADING_EDGE 是默认值)。
下图显示由 CLEARANCE_EDGE 决定的超程运动。
1. 参考零件(选定面)
2. 工件
3. 刀具
4. CLEARANCE_EDGE = HEEL
5. END_OVERTRAVEL
6. CLEARANCE_EDGE = CENTER
7. END_OVERTRAVEL
8. CLEARANCE_EDGE = LEADING_EDGE
9. END_OVERTRAVEL
整个零件用来计算工具间隙。即,当 ENTRY_EDGE 为 LEADING_EDGE 或 CLEARANCE_EDGE 为 HEEL 时,刀具将与零件的整个截面相切(如下图所示)。
1. 刀具
2. 零件轮廓
3. 切削运动
此 NC 序列用于表面铣削工件;因此,对内部岛或相邻壁将不进行过切避免检查。