制造 > 铣削 > 局部铣削 > 关于局部铣削
  
关于局部铣削
局部铣削有四种类型:
上一 NC 序列 (Prev NC Seq) - 移除“体积块”、“轮廓”、“曲面”或另一“局部铣削”NC 序列之后剩下的材料,通常使用较小的刀具。
拐角边 (Corner Edges) - 通过选择边指定一个或多个要清理的拐角。
根据先前刀具 (By Prev Tool) - 使用较大的刀具进行加工后,计算指定曲面上的剩余材料;然后使用当前的(较小)刀具移除此材料。
“铅笔追踪”(Pencil Tracing) - 通过沿拐角创建单一走刀或多条平行走刀刀具路径,清理选定曲面的边。
局部铣削始终用螺旋扫描算法来进行,因此,ROUGH_OPTION 和 SCAN_TYPE 参数不适用于此 NC 序列类型。
如果 CUT_TYPE 被设置为“逆铣”或“顺铣”,则将执行单向铣削。如果 CUT_TYPE 设置为“无”(此值只适用于“局部”铣削),刀具将来回移动以清理材料,如下图所示。
1. 逆铣
2. 顺铣
3. NONE
参考上一 NC 序列进行局部铣削
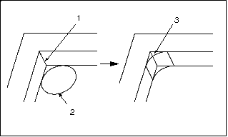
此类型的“局部铣削”NC 序列通常用较小的刀具移除“体积块”、“轮廓”或另一“局部”铣削 NC 序列之后剩余的材料。创建这样一个“局部铣削”NC 序列后,系统将提示选择一个参考 NC 序列。然后将计算参考 NC 序列剩下的材料,并仅对这些材料进行加工,将其去除。经过“体积块”或“轮廓”NC 序列后,可进行按区域铣削。下图显示按参考进行的“局部”铣削。
1. 用较大的刀具进行的体积块铣削
2. 局部铣削将移除剩余的材料
使用拐角边进行局部铣削
在此类型的“局部铣削”NC 序列中,通过选择边指定一个或多个要清理的拐角。系统将根据“拐角偏移”参数值或用户给定的“先前刀具半径”值来计算要移除的材料数量。下图显示使用“拐角边”(Corner Edges) 进行的“局部”铣削。
1. 选择拐角
2. 先前半径 (拐角偏移)
3. 此材料将被移除
参考上一刀具进行局部铣削
在此类型的“局部铣削”NC 序列中,使用较大刀具加工指定的曲面后,系统会计算其上剩余的材料;然后使用当前的(较小)刀具移除此材料。先前刀具必须是球头铣刀。可显式选择要加工的曲面,也可使用“铣削窗口”进行曲面选择。系统计算完默认的刀具路径后,可选择要加工曲面的一个子集,或自定义这些曲面的加工顺序。
按铅笔追踪进行局部铣削
在此类型的“局部铣削”NC 序列中,系统通过沿拐角创建单一走刀或多条平行走刀刀具路径,清理选定曲面的边。可以使用跨距恒定的平行铣削走刀,对材料过多而无法通过单个“铅笔铣削”走刀移除的作业拐角进行清理。
平行铣削走刀是单个铅笔追踪走刀和恒定曲面跨距走刀的组合形式。在此,指定数量的走刀将从现有铅笔走刀偏移而来。沿着作业曲面,各平行走刀彼此之间的距离恒定 (不管方向如何)。当对余料加工所生成的边界进行加工时,或想要确保走刀之间的 3D 距离保持恒定时,这很有用。可通过刀具走刀而得到的封闭轮廓或开放轮廓,来执行恒定的曲面跨距。带有开放轮廓的“恒定曲面”跨距将在开放轮廓两侧生成指定数量的偏移,效果如同“平行铅笔铣削”走刀。
可使用“最大拐角角度”(MAX_CORNER_ANGLE) 参数来分离竖直区域和水平区域 (默认角度为 30)。然后,可使用 MACHINING_ORDER 参数指定是只加工拐角(竖直区域),还是只加工曲面(水平区域),或者两者都加工,并指定加工顺序。