钣金件 > 设置钣金件设计 > 设计规则 > 关于设计规则
  
关于设计规则
设计规则是设计指导方针。设计规则以零件的材料类型和制造工艺为基础。可为一个设计复制任意数量的设计规则表,但是一次只能为一个零件分配一个规则表。更改所分配规则表中列出的一个或多个规则,即可修改设计规则。设计规则和名称均为标准形式,不能进行更改,但可以利用关系进行自定义。
标准规则表包含下列元素:
规则
说明
默认值
示例
MIN_DIST_BTWN_CUTS
检查两个切口或冲孔之间的距离。
5*T
1. 2T 或 3T 或更大
2. 坯件厚度 (T)
MIN_CUT_TO_BOUND
检查零件边与切口或冲孔之间的距离。
2*T
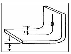
MIN_CUT_TO_BEND
检查折弯线与切口或冲孔之间的距离。
2.5 *T + R
其中,
H = 最底边与孔之间的距离
T = 钣金件厚度
R = 折弯半径
最小 H = 1.5*T+R
MIN_WALL_HEIGHT
检查成型壁的最小折弯高度。
1.5 * T + R
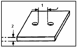
MIN_SLOT_TAB_WIDTH
检查槽的最小宽度。
T
1. 槽高
2. 槽宽 (T)
MIN_SLOT_TAB_LENGTH
检查槽的最小长度。
0.7
MIN_LASER_DIM
对于外轮廓 - 检查其圆弧直径是否小于此值。
对于内轮廓 - 检查其圆弧直径是否小于此值,并检查两条平行边之间的距离。
1.5*T
1. 外轮廓圆弧
2. 2 条平行线之间的距离
3. 内轮廓圆弧