“加固”(Reinforcement) - 通过组合两条焊缝 (一条角焊缝外加一条坡口焊缝或对接焊缝) 来创建加固焊缝。
“双侧”(Both Sides) - 将接头两侧的两到四条焊缝组合成一条焊缝。
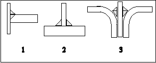
“类似”(Similar) - 组合具有相同焊缝定义的焊缝。组合焊缝类型 | 示例 | 说明 |
加固 | ![]() 1. 圆角 2. 坡口 | 在单个焊接序列中组合了 V 形坡口和角焊缝。 |
双侧 | ![]() 1. 两侧角焊缝 | 在单个焊接序列中组合了两个角焊缝。 |
类似 | ![]() 1. 圆角 | 在单个焊接序列中组合了六道类似的角焊缝。 |

“加固”(Reinforcement) 和
“双侧”(Both Sides) 焊缝所支持的符号:
“加固”(Reinforcement) – I 形坡口或 I 形对接、斜坡口或斜对接、J 形坡口或 J 形对接和半喇叭形坡口。角焊缝始终是加固焊缝。
“双侧”(Both Sides) - 圆角、I 形坡口或 I 形对接、斜坡口或斜对接、V 形坡口或 V 形对接、J 形坡口或 J 形对接、U 形坡口或 U 形对接、喇叭形坡口和半喇叭形坡口。
“类似”(Similar) - 焊缝定义完全相同且仅用于定义位置的参考不同的焊缝。